Patent Name:   Patent Number:
Type:   Class:   Place of Registration:
Key Word:
Please query keywords separated by comma or space.
Patent Name:一种显示电量的带保护的充电电路
Patent Number:2014101121446
Place of Registration:中国
Type:机械
Class:机械
Contacts:温建梅
Contact Information:020-38743199
Patent Profile:
当前权利人:华南师范大学
本发明公开了一种显示电量的带保护的充电电路,包括依次连接的电池、保护电路、充电电路、显示电量电路,电源正极与显示电量电路之间设置开关S1,显示电量电路包含显示电池形状的灯LED0、n个LED灯、n个三极管、(n+1)个电容器、2n个电阻、芯片U1,芯片U1包含n个同相输入端、n个反相输入端和n个输出端,灯LED0显示的电池形状分割为n部分,每一部分分别对应一个LED灯,n≥2;在充电时n个LED灯以跑马灯的形式提示充电,随着电量的增多,LED灯闪烁减少,变成常亮显示电量的多少。本发明的一种显示电量的带保护的充电电路,可以在充电过程中,通过跑马灯的形式显示其充电的状态,同时能达到防过充的目的。
Patent Name:一株耐盐高自聚集能力的解淀粉芽孢杆菌及其在脱氮中的应用
Patent Number:2021107171152
Place of Registration:中国
Type:机械
Class:机械
Contacts:温建梅
Contact Information:020-38743199
Patent Profile:
当前权利人:华南师范大学
本发明公开了一株耐盐高自聚集能力的解淀粉芽孢杆菌及其在脱氮中的应用。解淀粉芽孢杆菌(Bacillus amyloliquefaciens)N8,已于2021年6月1日保藏于广东省微生物菌种保藏中心,保藏编号为:GDMCC NO.61606。所述的解淀粉芽孢杆菌N8可以应用在含有一定盐度的含氮废水脱氮处理中。解淀粉芽孢杆菌N8具有高效去除氨氮的硝化能力和去除亚硝和硝酸盐氮的反硝化能力;具有一定的耐盐性,在含盐条件中能有效发挥其脱氮能力。利用这类具有耐盐硝化和反硝化能力的细菌,能够较好地解决在含盐条件下去除废水中氨氮、亚硝和硝态氮存在的难题。
Patent Name:一种可同时检测多个润滑脂样品中有害粒子的装置
Patent Number:2018110053658
Place of Registration:中国
Type:机械
Class:机械
Contacts:温建梅
Contact Information:020-38743199
Patent Profile:
当前权利人:华南师范大学
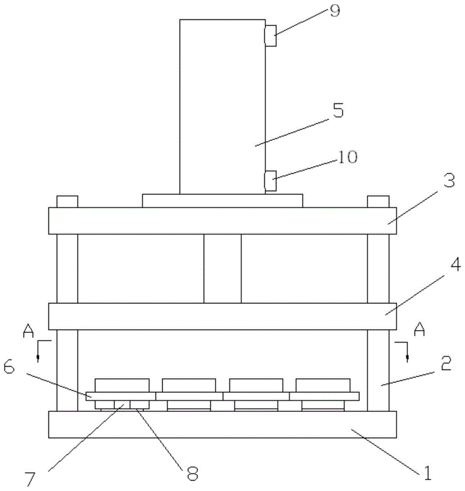
一种可同时检测多个润滑脂样品中有害粒子的装置,包括基座、立柱、动梁、静梁、动力机构、齿轮座、上板、下板,至少两根立柱设于基座上,动梁滑动式安装于立柱上,静梁固定安装于立柱的顶端;动力机构安装于静梁上,动力机构和动梁连接;基座上设有若干齿轮座,相邻齿轮座之间相互啮合,齿轮座上置放下板,动梁的下表面上设有若干上板,上板和齿轮座一一正对。本发明具有轻松省力、可一次检测多个润滑脂样品、节约时间、提高效率等优点。本发明属于润滑脂检测技术领域。
Total498Patents 37/166Page First Previous Next Last
[Previous 10 Pages] [31] [32] [33] [34] [35] [36] [37] [38] [39] [40] [Next 10 Pages]